A 15 hp hot oil pump is a type of pump designed to circulate thermal oil, typically used in heating systems, process heating applications, and industrial operations. The construction of a centrifugal hot oil pump typically includes robust materials such as cast iron or stainless steel to withstand thermal stress and ensure longevity.
Features:
- Corrosion Resistance. Pumps used for hot oil applications are typically made from materials that resist corrosion, ensuring the longevity of the pump in harsh operating conditions.
- Robust Construction. Hot oil pumps are built to be robust and durable, with materials chosen to withstand the thermal stresses associated with high-temperature operations.
- Efficiency. Hot oil pumps are engineered for high efficiency to minimize energy consumption while effectively circulating the heat transfer fluid through the system.
Specification:
- Model: ATO-RY50-32-250
- Voltage: 380V
- Power: 15 HP (11 kW)
- Material: cast iron
- Head: 80m
- Flow Rate: 12.5 m3/h
- Speed: 2900 r/min
- Efficiency: 44%
- Motor: 160M
- Seal Method: packing seal
- Working Temperature: -20 ℃ ~ 350℃
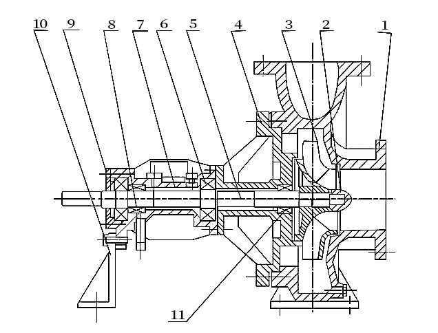
Structure:

| 1. Pump Casing |
2. Impeller Nut |
3. Impeller |
4. Pump Cover |
| 5. Pump Shaft |
6. Bearing |
7. Bearing Casing |
8. Oil-conducting Pipe |
| 9. Bearing's Press Cover |
10. Bear Frame |
11. Packing Seal |
|
Application:

Tips: What is the expected lifespan of hot oil pump?
The expected lifespan of a hot oil pump depends on various factors such as the quality of materials used, maintenance practices, operating conditions, and frequency of usage. Generally, a well-maintained hot oil pump can last anywhere from 10 to 20 years. Regular inspections, lubrication, and timely repairs can significantly extend its lifespan. However, harsh operating conditions such as high temperatures, corrosive fluids, or excessive vibration can accelerate wear and tear, potentially reducing its lifespan.
Additionally, advancements in pump technology and materials may improve durability and longevity over time. Proper installation and adherence to manufacturer guidelines for operation and maintenance are crucial for maximizing the lifespan of a hot oil pump. Regular monitoring of performance indicators can help identify issues early and prevent costly breakdowns, ensuring optimal functionality throughout its operational lifespan.