3 phase forward and reverse switch with IP20 protection grade, which can applicate forward, stop, reverse. The reverse forward switch has the advantages of easy installation, high protection level, simple operation and long service life.
Specification
| Model |
ATO-HY2-15 |
ATO-HY2-30 |
ATO-HY2-60 |
| Working current |
7A |
12A |
20A |
| Heating current |
15A |
30A |
60A |
| Working voltage |
220V 1.7kW/ 380V 3kW |
220V 3.4kW/ 380V 5.5kW |
220V 10kW/ 380V 20kW |
| Rated voltage |
220V/ 380VAC |
| Phase |
3 phase |
| Protection grade |
IP20 |
| Application |
Forward, stop, reverse |
| External material |
Metal |
| Color |
Grey |
| Weight |
1kg |
| Certificate |
CCC |
| Warranty |
12 months |
Dimension

| Model |
Outer size (mm) |
Mounting size (mm) |
| L |
B |
H |
h1 |
b1 |
d |
| HY2-15 |
78 |
78 |
130 |
70 |
60 |
φ6.5 |
| HY2-30/60 |
90 |
88 |
150 |
80 |
64 |
φ7 |
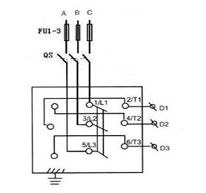
Wiring diagram

Tips: Working Principle of Forward and Reverse Switch.
The three-phase power supply provides a rotating magnetic field to make the three-phase motor rotate. Due to the different connection methods of the three-phase power supply, the magnetic field can rotate clockwise or counterclockwise. To change the direction of rotation, you only need to change any two-phase phase sequence of the motor power supply. Can be done. If the original phase sequence is A, B, C, just change it to A, C, B or C, B, A. The general reverse switch has two rows of six terminals, and the phase modulation is switched through the middle contact to achieve the purpose of phase commutation. Take a three-phase motor reverse switch as an example: set the incoming line ABC three phases, the outgoing line is also ABC, because the ABC three phases are separated by 120 degrees and connected to form a circle, set the ABC on this circle to be clockwise and connect to After the motor, the motor rotates clockwise.
If you switch BC in the switch, A will not move as usual, so that the outlet of the switch becomes ACB, then the ABC arrangement on the circle becomes counterclockwise. After connecting to the motor, the motor also rotates counterclockwise.
1. If you pull its handle to the left, the outlet line is A-B-C.
2. If you pull its handle to the middle, all A-B-C will be disconnected and in the off state.
3. If you pull its handle to the right, the outgoing line is A-C-B, and the rotation direction of the motor is opposite to when it is pulled to the left.