Note: This control valve cannot be used for drinking water.
The valve body adopts a full-channel streamlined design, with large flow, good sealing effect, simple maintenance, flexibility and durability, high liquid level control accuracy, the water level is not affected by water pressure and is tightly closed without water leakage. It can control the liquid level of a water tower or pool. It is suitable for automatic water supply systems of various pools (boxes) and water towers in industrial and mining enterprises and civil buildings.
Specifications
- Model: ATO-100X-16Q
- Nominal diameter: DN50-DN250 (American standard 150LB flange can be customized)
- Applicable media: Clean water, non-corrosive liquids
- Medium: Temperature ≤80℃
- Using pressure: ≤1.6MPa
- Valve body material: Ductile iron/QT450
- Seal material: One-piece rubber
Dimensions (mm) and Details

| Specifications DN |
50 |
65 |
80 |
100 |
150 |
200 |
250 |
| L |
240 |
240 |
292 |
325 |
400 |
470 |
550 |
| D |
160 |
180 |
195 |
215 |
280 |
335 |
405 |
| D1-16kg |
125 |
145 |
160 |
180 |
240 |
295 |
355 |
| n-d |
4-19 |
4-19 |
8-19 |
8-19 |
8-23 |
12-23 |
12-28 |
Note: Product data may change due to factors such as accessory process improvements. Please consult customer service for specific parameters before purchasing.
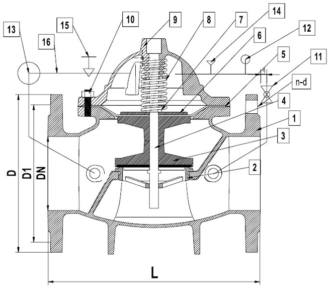
| Main component material |
| Serial number |
Name |
Material |
Serial number |
Name |
Material |
| 1 |
Valve body |
Ductile iron QT450 |
9 |
Valve cover |
Ductile iron QT450 |
| 2 |
Valve seat |
Copper |
10 |
Bolts |
SS201 (stainless steel) |
| 3 |
Valve disc |
Ductile iron QT450 |
11 |
Ball valve |
Copper |
| 4 |
Valve shaft |
Dichloroethylene |
12 |
Pressure gauge |
Assembly |
| 5 |
Diaphragm |
Reinforced nylon rubber |
13 |
Pressure gauge |
Assembly |
| 6 |
Diaphragm pressure plate |
Ductile iron QT450 |
14 |
Pilot valve |
Copper |
| 7 |
Bolt |
201 |
15 |
Needle valve |
Copper |
| 8 |
Spring |
Spring steel |
16 |
Pipe |
Copper |
Installation

Applications

Tips: Working principle of water level control float valve
The water level control float valve works in conjunction with the main valve and the control float valve to realize automatic water supply and water cutoff of the water tank. The upper chamber of the main valve is connected to the float valve, which is installed at the liquid level of the water tank to sense water level changes and control the main valve switch.
When the water level in the water tank drops to the set position, the float valve opens, causing the main valve to open and water to start being supplied to the water tank; when the water level rises to the height set by the float valve, the float valve closes, and the main valve closes synchronously, stopping the water supply. The entire process does not require external power and is automatically adjusted by water level changes to ensure that the water level in the water tank remains within the set range.